Воспользуюсь услугой инженера для настройки, регулировки и восстановлению аппаратов микроволновой терапии (2,4 Ггц) исключительно помогающих при пяточных шпорах, подагре, артрозах.
Дам один аппарат для пользования.
Работу оплачу.
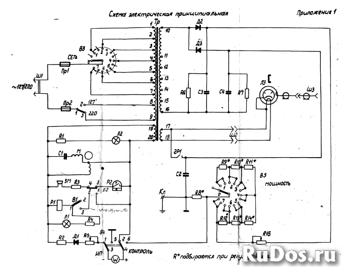
Есть схемы, помещение для ремонта, измерительные приборы и технология настройки и проверки.
Для улучшения работы сайта мы используем файлы cookie. Продолжая работу с сайтом, Вы разрешаете использование cookie-файлов. Политика конфедициальности